Chemtrails-France.com
qu'est ce que c'est ?
géoingénierie
manipulation du climat
articles
photos
vidéos
animations
brevets
avions
complicité
comparaisons
commentaires
statistiques
phénomènes inexpliqués
conspiration
téléchargement
liens
contact
accueil
Chemtrails-france.com > Brevets > 12 décembre 1978 - Brevet n° 4129252 - 1/7
police plus petite
police plus grande
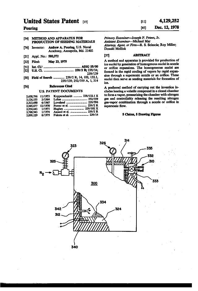
Méthode et appareil pour la production de matériaux d'ensemencement.
Une méthode et un appareil sont prévus pour la production de noyaux de glace par la création de noyaux homogènes dans une buse ou leur développement dans un orifice. Les noyaux homogènes sont formés par le refroidissement de vapeurs par expansion à travers une buse supersonique ou un orifice. Ces noyaux servent ensuite de matériaux d'ensemencement pour la formation de glace.
Une méthode préférée pour utiliser l'invention inclut le chauffage d'un composé volatile dans une chambre close pour former de la vapeur, la pressurisation de la chambre avec du azote et le relâchement contrôlé de la combinaison résultante de vapeur et d'azote à travers une buse ou un orifice dans le flux supersonique.
 
 
02 03 04 05 06 07 suivante